1. Xử lý nhiệt chân không là gì?
ICS VIETNAM |
Xử lý nhiệt chân không (vacuum heat treatment) là một kỹ thuật xử lý nhiệt kim loại trong môi trường chân không. Kim loại được nung nóng đến nhiệt độ cao trong môi trường chân không và sau đó làm nguội nhanh chóng. Quá trình này giúp cải thiện các tính chất cơ học và hóa học của kim loại, chẳng hạn như: độ cứng, độ bền, độ dẻo và khả năng chống ăn mòn.

Xử lý nhiệt chân không là việc kết hợp môi trường áp suất chân không với quá trình xử lý nhiệt
2. Nguyên lý của xử lý nhiệt chân không
Như chúng ta đã biết, xử lý nhiệt (nhiệt luyện) là tác động nhiệt độ nhằm làm thay đổi vi cấu trúc chất rắn, có thể là thay đổi thành phần hóa học và đặc tính của vật liệu. Xử lý nhiệt chân không là một kỹ thuật xử lý nhiệt kim loại trong môi trường áp suất chân không.
Trong môi trường chân không, kim loại được nung nóng đến nhiệt độ cao và sau đó làm nguội nhanh chóng.
Vì sao “chân không” được ứng dụng cho quá trình này?
Môi trường chân không khiến không khí môi trường làm việc thấp hoặc rất mỏng. Phôi được nung ở trạng thái chân không có thể tránh được quá trình oxy hóa và khử cacbon so với xử lý nhiệt thông thường. Đồng thời, cũng tránh được hiện tượng hấp thụ hydro, độ biến dạng thấp, cải thiện cơ học toàn diện tính chất của các bộ phận vật liệu.
Môi trường áp suất thấp giúp loại bỏ oxy và các tạp chất khác ra khỏi kim loại, cải thiện tính chất cơ học và hóa học của chúng. Khi gia nhiệt chân không, các hạt trên bề mặt phôi kim loại sẽ bay hơi.
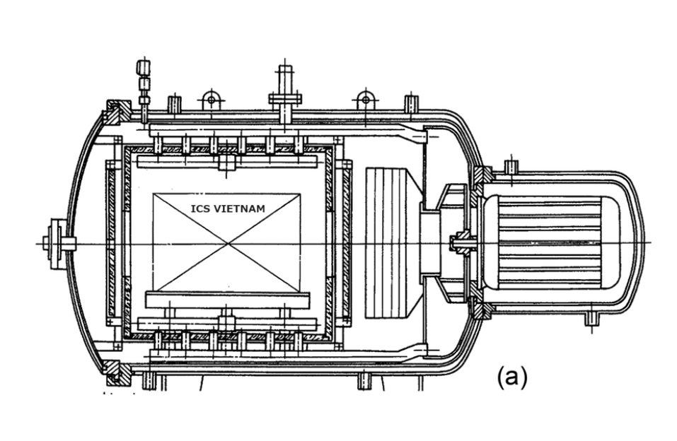
3. Cấu tạo của lò xử lý nhiệt chân không
Lò xử lý nhiệt bằng áp suất chân không bao gồm các bộ phận chính sau:
ICS VIETNAM |

Hình ảnh của một hệ thống xử lý nhiệt áp suất thấp
4. Quy trình công nghệ
Quá trình xử lý nhiệt bằng chân không diễn ra theo 3 giai đoạn: Quá trình hút chân không – Quá trình nung nóng và Quá trình làm nguội.
4.1. Hút chân không
Để tạo ra được môi trường chân không trong xử lý nhiệt, người ta sử dụng lò chân không/buồng chân không. Đây là một loại lò dùng để nung vật liệu.
Hệ thống bơm chân không sử dụng để hút loại bỏ không khí trong buồng hút. Mức áp suất thấp hơn 10^-3 Pa, độ chân không càng thấp thì môi trường càng tinh khiết, giúp bảo vệ bề mặt vật liệu tốt hơn. Máy bơm chân không vòng dầu là loại bơm thường được lựa chọn cho ứng dụng này.

Hệt thống chân không tạo ra áp suất thấp cho buồng xử lý nhiệt
4.2. Quá trình nung nóng
Sau khi hút chân không trong lò xong, nhiệt độ được đẩy lên cực cao (khoảng hơn 1000 độ, tùy vào loại kim loại cần nhiệt luyện). Trong quá trình nung nóng, kim loại được nung nóng đến nhiệt độ cao, thường là trên nhiệt độ tới hạn. Nhiệt độ này giúp các phân tử kim loại di chuyển tự do hơn và tạo điều kiện cho các phản ứng hóa học xảy ra. Sau đó, kim loại sẽ trải qua các quy trình tôi, ram, hàn hay thiêu kết tự động nếu có
4.3. Quá trình làm nguội
Sau khi nung nóng, kim loại được làm nguội nhanh chóng. Quá trình làm nguội nhanh chóng giúp các phân tử kim loại không có thời gian để di chuyển trở lại vị trí ban đầu, dẫn đến sự biến đổi cấu trúc tinh thể của kim loại.
Thông thường, khí Ni tơ được sử dụng để làm lạnh cho kim loại. Quá trình làm mát nhanh chóng gây ra sự chênh lệch nhiệt. Quá trình này cũng có thể gây ra những thay đổi về cấu trúc của kim loại.
5. Sự thay đổi của kim loại sau xử lý nhiệt
Quy trình xử lý nhiệt bằng chân không đem lại nhiều lợi ích cho kim loại, bao gồm:
>> Tham khảo: Công nghệ xi mạ chân không mới nhất hiện nay
6. Ưu nhược điểm của phương pháp
Công nghệ nhiệt luyện chân không đem đến nhiều ưu điểm nổi bật. Bên cạnh đó, công nghệ này cũng có một vài nhược điểm mà chúng ta cần lưu ý.
6.1. Ưu điểm
Quy trình công nghệ xử lý nhiệt chân không đem đến nhiều ưu điểm cho quá trình sản xuất của nhà máy:
ICS VIETNAM |

Xử lý nhiệt áp suất thấp giúp chất lượng vật liệu xử lý đồng bộ, có độ bền và thẩm mỹ hơn
6.2. Nhược điểm
7. Ứng dụng
Xử lý nhiệt bằng chân không được sử dụng trong nhiều ứng dụng, bao gồm: